Установка стеклянной двери в ванную комнату считается оригинальным дизайнерским решением, позволяющим создавать самые современные интерьерные оформления. За чет новых материалов и технологий такие двери не только красивые, но и полностью безопасные в пользовании. А огромный выбор стилей оформления стекла позволяет каждому потребителю выбрать именно свой вариант, стекло становится не только преградой, но и художественным элементом, несущим важную нагрузку в оформлении помещений.


Стеклянная дверь в ванную комнату


Стеклянные декоративные двери для санузлов
Конструкционные варианты стеклянных дверей в ванную комнату
В зависимости от системы фиксации и открывания/закрывания двери из стекла могут быть различных типов.
| Тип дверей | Краткие эксплуатационные характеристики |
|---|---|
![]() ![]() Распашные |
Традиционный метод открывания дверей. Стеклянное полотно навешивается прямо на петли, которые могут быть левосторонними или правосторонними. Наиболее часто используемый вариант стеклянных дверей для ванной. |
![]() ![]() Раздвижные |
Сложная инженерная система, требует практического опыта во время установки и регулировки. За счет бокового сдвига дверей экономится полезное пространство ванной комнаты. В комплект входит широкий перечень механизмов и элементов фиксации, необходима профессиональная регулировка. |
![]() ![]() Маятниковые |
Стеклянное полотно или полотна могут открываться в любую сторону, возврат в начальное положение выполняется пружинами. В ванных комнатах применяется редко и только при создании эксклюзивных стилей оформления. |
На качество стеклянных дверей большое влияние оказывает фурнитура, она полностью отличается от используемой для обычных дверных конструкций. В зависимости от типа дверей для установки потребуется следующая фурнитура.
| Наименование | Описание |
|---|---|
![]() ![]() Петли |
Внешние поверхности хромируются, более дорогие модели изготавливаются из латуни. Могут фиксироваться к полу или потолку, для крепления к раме изготавливается специальный элемент. Дорогие устройства имеют функцию автоматического закрывания стеклянной створки, работают на 90–180°. |
![]() ![]() Замки |
По принципу закрывания бывают замки-защелки или с цилиндрическим механизмом. Цвет поверхности анодированный алюминий, матовое хромирование или латунь. К двухстворчатым дверям выпускается замок-ответка. Для простых есть замки-защелки и замки с фиксаторами положения створки. На самых дорогих моделях в комплектацию входит современный магнитный с отельным ключом замок. |
![]() ![]() Ответные планки |
Монтируются с замком на магнитах, имеют различные размеры. Служат упорами для дверных полотен при закрывании. |
![]() ![]() Направляющие профили (рельсы) к раздвижным системам |
Материал изготовления – анодированный алюминий, фиксируются к потолку или стене и полу, длина до 200 см. Могут быть одинарными или двойными в зависимости от конструкции раздвижных стеклянных дверей. |
![]() ![]() Боковые заглушки |
Устанавливаются на профилях в качестве декоративных элементов. Могут иметь регулируемые ограничители хода. |
![]() ![]() Роликовые системы в сборе |
В зависимости от конструктивных особенностей дверей могут быть для одного или двух стеклянных полотен, состоят из многих элементов, обеспечивающих плавность и равномерность хода. |
![]() ![]() Ручки |
Выпускаются ручки-скобы и ручки-купе, устанавливаются на двери в зависимости от типа открытия. |
![]() ![]() Профили для стеклянного полотна |
Изготавливаются из алюминия, имеют различные размеры. Для соединения в углах используются специальные уголки. |
![]() ![]() Резиновые утеплители |
Применяются для герметизации профилей, исключают попадание влажного воздуха из ванной в жилые помещения. |
Для создания сложных конструкций стеклянных дверей ванных комнат дополнительно используются напольные направляющие и держатели, стопора с автоматическим или без такового закрыванием, защелки шарикового типа для фиксации стекла в проеме без специального закрывания и т. д.


Ограничитель хода двери


Стопор для стеклянных дверей
Во время выбора фурнитуры обращайте внимание на производителя. Стеклянные двери – дорогостоящее удовольствие, не допускайте их поломок из-за некачественной фурнитуры. Опытные строители советуют пользоваться продукцией таких компаний:
- немецкая компания, выпускает полный комплект фурнитуры для различных типов стеклянных дверей. В ассортимент входит несколько наборов от бюджетного решения до престижных дорогостоящих комплектов. По стоимости продукция относится к наиболее дорогому сегменту товаров;


Стеклянные двери Sprinz
- французский бренд, производится концерном «ASSA ABLOY», по качеству полностью отвечает европейским стандартам. Большой модельный ряд, широкий выбор ценовых предложений;


Assa Abloy
- итальянская компания, благодаря оптимальному отношению стоимости продукции к ее качеству имеет широкую популярность среди потребителей. Большой перечень товаров позволяет подбирать оптимальные варианты с учетом конструкции стеклянных дверей и стиля оформления помещения.


FOA PORTE — итальянские стеклянные двери
Среди отечественных компаний сложно выбрать лучших. Мало кто из них выпускает полный перечень видов фурнитуры, а комплектовать двери элементами от разных производителей категорически не рекомендуется. Такие двери часто выходят из строя, возникают проблемы во время закрывания/открывания. Причина не только некачественное изготовление, но и различная износоустойчивость.


«АКМА» — это единственная фабрика в России, которая может на равных конкурировать с ведущими европейскими производителями по качеству, дизайну и цене продукции


Стеклянная дверь Акма Маки
Какие стекла используются при изготовлении дверей
Во время производства стеклянных дверей для ванных комнат производители руководствуются тремя критериями: безопасность, длительность эксплуатации и дизайнерская привлекательность. Таким критериям отвечают несколько видов стекла.
-
Противоударное. Обыкновенное стекло проходит специальную термическую обработку. После обработки материал может выдерживать значительные усилия, в том числе и динамические. Если удар превышает критические параметры, то стекло рассыпается на мелкие кусочки, что исключает риски порезов.

Противоударное стекло с узором
-
Триплекс. Самое дорогое стекло, состоит из нескольких слоев. Внутри размещена полиэтиленовая пленка. После механического повреждения на поверхности появляются трещины, осколки не образуются совсем. Триплексные стекла устанавливаются на наиболее дорогих и ответственных стеклянных дверях.


Триплекс
-
Бронированное. На одну из лицевых поверхностей стекла наклеивается особо прочная полиэтиленовая пленка. По физическим характеристикам занимает среднее положение среди всех видов.

Бронированное стекло
Толщина стекол начинается от 8 мм, чем она больше, тем прочнее конструкция. Но большая толщина значительно повышает вес, это следует учитывать во время выбора фурнитуры.
Для улучшения дизайнерского вида поверхности стекол обрабатываются пескоструйными установками, на них наклеиваются фотообои или создается мозаика. Натуральную мозаику применяют редко из-за высокой стоимости. Чаще всего на поверхностях делается имитация мозаики при помощи красок. Есть варианты цветных стекол, они могут применяться как в чистом виде, так и подвергаться дополнительному декорированию.


Пескоструйная обработка стекла


Стеклянная дверь в ванную комнату, пескоструйный узор


Стеклянные двери с фотопечатью
Самый дешевый вариант украшения стекол для дверей – наклеивание декоративных пленок с рисунками, фотографиями или репродукциями картин. К дорогим относится золотистое или серебристое напыление. Полностью прозрачные варианты полотен для ванных комнат не применяются. Но надо знать, что даже дешевая стеклянная дверь обойдется заметно дороже обыкновенной. Не рекомендуется применять такие варианты в квартирах с детьми или пожилыми людьми – ни один производитель не может дать стопроцентную гарантию безопасности пользования.


Матовые стеклянные двери

Стекла с напылением
Преимущества и недостатки стеклянных дверей для ванных
Реальное преимущество у стеклянных дверей в ванную комнату одно – красивый и оригинальный дизайн. Все остальные (водоустойчивость, экологичность и пр.) – не что иное, как попытки производителей увеличить количество продаж. А вот недостатков есть несколько, на них следует остановиться подробно.
- Большой вес. Для их установки требуются прочная фурнитура, а она стоит дорого. Кроме того, предъявляются повышенные требования к несущим показателям несущих поверхностей, не все виды строительных материалов имеют такие параметры. И еще одна проблема, возникающая из-за массы. Стеклянные двери имеют большую кинетическую энергию, закрывать/открывать их нужно осторожно. В противном случае полотно если не разобьется совсем, то будет повреждаться фурнитура, нарушится устойчивость алюминиевых профилей.
- Высокие значения теплопроводности. По этому параметру стекло почти не уступает металлу. Как следствие – на поверхности стекол во время принятия водных процедур постоянно образуется конденсат. Появляются две проблемы. Первая – вода стекает на половые покрытия. Все они отрицательно реагируют на длительный контакт с водой, особенно это касается деревянных полов и очень распространенных сегодня ламинатных. Вторая – поверхность стекол приходится часто мыть. В любом помещении есть пыль, она приклеивается к конденсату, а после высыхания воды на стекле заметны пятна грязи.
- Низкая ремонтопригодность. Большинство монтажных элементов стеклянных дверей не ремонтируется, при появлении износа их следует менять. Это долго, трудно и дорого. Кроме того, не все владельцы квартир могут это сделать самостоятельно, приходится обращаться за помощью к профессиональным специалистам, а это еще более увеличивает цену ремонта. Не говоря уже о полной замене стеклянного плотно в случае его механического повреждения или критического износа декоративных элементов.
- Высокая стоимость. Цена стеклянной двери вместе с установкой в разы превышает альтернативные и привычные варианты.


Декоративные стеклянные двери — дорогое удовольствие

Стеклянные двери замутненные способом «фьюзинг»
Имейте в виду эту информацию, хорошо взвесьте все за и против, и только после этого принимайте окончательное решение.
Пошаговая инструкция установки стеклянной двери
Для примера мы возьмем самый распространенный вариант монтажа двери с применением алюминиевого каркаса. Такой метод считается универсальным, его можно использовать на любых стенах, в том числе и из непрочных пеноблоков. Алюминиевый каркас дает возможность увеличивать количество мест фиксации конструкции, подбирать метизы с учетом конкретных условий. Это существенно повышает устойчивость конструкции и увеличивает безопасность пользования. Кроме того, каркасный вариант установки стеклянных дверей облегчает процесс замены в случае необходимости полотна или отдельных элементов сборки.


Стеклянная дверь с алюминиевым каркасом


Монтаж межкомнатной двери с алюминиевой коробкой
Тщательно изучите инструкцию производителя, проверьте комплектность поставки. Для монтажа вам понадобится электрическая дрель с набором сверл, в том числе и для сверления бетона и керамической плитки уровень, маркер, герметик, набор ключей.
Осмотрите профили для каркаса. Абсолютное большинство производителей предусматривает только три отверстия для фиксации, этого достаточно только в тех случаях, когда межкомнатные перегородки бетонные. В домах перегородки делаются в большинстве случаев из пеноблоков или пустотелого кирпича. Три точки крепления в этих материалах не обеспечат устойчивость конструкции, дополнительно просверлите еще минимум два установочных отверстия, диаметр можно увеличить или оставить такой же, как и у заводских. Алюминий сверлится плохо, постоянно забивается режущая кромка. Если профили толстостенные, то периодически очищайте сверло, в противном случае оно перегреется.


Сборка коробки
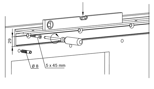
Шаг 1. Сделайте метки на стене в местах установки дюбелей. Точно по уровню установите несущий профиль, проверьте его положение и карандашом или маркером наметьте места отверстий. Отнимите профиль и аккуратно высверлите отверстие. Если перегородка кирпичная, то нужно работать сверлом с победитовой напайкой, если из пенобетона, то подойдет обыкновенное. Сверлите аккуратно, постоянно держите дрель в одном положении. Любые колебательные движения увеличивают диаметр отверстий, а это очень негативно сказывается на прочности фиксации.


Вставьте коробку в проем


Коробка вставлена


Фиксация коробки саморезами
Практический совет. Рекомендуем отверстия набить любым уплотнителем, а только потом вставлять пластиковые части дюбелей. За счет этого значительно увеличивается надежность крепления. Такую процедуру рекомендуем делать во всех случаях фиксации тяжелых элементов к межкомнатным перегородкам при помощи дюбелей.
Шаг 2. Прикрепите к стене несущий профиль. Для устранения щелей между ним и поверхностью стены следует на тыльную часть профиля нанести герметик. Много не надо, но линия должна быть непрерывной. Таким образом вам удастся предотвратить попадание влажного воздуха из ванной комнаты и другие помещения. Не беспокойтесь, что часть герметика выдавится, излишки без проблем убираются.
Шаг 3. Закрепите петли. Не забывайте ставить между металлическими поверхностями и стеклом резиновые или пластиковые прокладки. Затягивайте без лишних усилий, помните, что вы работаете со стеклом.


Установка петель
Шаг 4. Установите полотно на посадочные места, проверьте функциональность во время открывания/закрывания. Если вы все делали правильно, то дверь будет работать без проблем.
Шаг 5. Таким же методом установите второй профиль (обратку). Закрепите фурнитуру.


Навешивание и регулировка дверного полотна


Обратная часть фурнитуры


Сборка замка


Замок с ручкой


Ответная планка замка
Шаг 6. Вверху проема поставьте герметизирующую полосу. Внизу должен быть зазор для естественной вентиляции.


Установка уплотнителя
На этом установка закончена, проверьте работоспособность двери и замков.


Установленная дверь
Отдельно следует рассказать о технологии установки раздвижных стеклянных дверей в ванную комнату.
Соблюдайте правила техники безопасности, работайте в перчатках. Помните, что стеклянные полотна очень чувствительны к ударам о плитку пола, следите, чтобы углы не задевали его, пользуйтесь различными прокладками.
Шаг 1. Прикрепите к дверному полотну направляющие ролики, следите, чтобы конец торцевой скобы располагался вровень с краем дверного полотна. Направляющие роликов должны находиться на расстоянии примерно 80 см от края стекла. Каждый производитель немного изменяет этот параметр, читайте инструкцию. Затяните шестигранные болты направляющих роликов, эти боты прижимают стекло к металлическим поверхностям. Не забывайте постоянно пользоваться специальными прокладками. Проверьте надежность, если есть сомнения, то очень осторожно подтяните болты еще примерно на ½ оборота.


Крепление направляющих роликов к дверному полотну
Шаг 2. Закрепите верхние рельсы. Отметьте с помощью уровня места крепления, просверлите отверстия и закрепите рельсы. Мы уже упоминали, что для архитектурных элементов из непрочных стройматериалов нужно увеличивать количество точек фиксации.


Крепление верхних рельс к стене
Практический совет. Иногда во время транспортировки рельсы деформируются. Проверьте их, при обнаружении искривлений исправьте проблемы. Неровные рельсы значительно усложняют открывание/закрывание стеклянных дверей.
Шаг 3. Закрепите нижний фиксатор, перед этим следует проверить плоскость стен. Расстояние между стеной и краем дверного проема дается в конкретной инструкции от каждого производителя.


Крепление нижнего фиксатора к полу
Шаг 4. Навесьте стеклянное полотно с роликами на рельсы. Дверь поставьте на подкладки, приподнимите ее, немного наклоните и вставьте ролики в рельс. Специальными шурупами закрепите декоративную панель, закрывающую рельс.


Установка стеклянной двери на рельсы
Шаг 5. Закрепите стопперы. Они монтируются на торцах рельсы и служат для недопущения выпадения дверного полотна при максимальном открытии. При необходимости отрегулируйте стопперами ширину открывания дверного полотна.


Крепление стопперов
Шаг 6. Отрегулируйте положение дверного полотна. Между нижним краем и полом должна быть щель высотой примерно 10 см.


Регулировка высоты стекла
Шаг 7. Еще раз проверьте надежность всех соединений, при необходимости немного подтяните болты.
Шаг 8. Начинайте установку дверных ручек и замка. Алгоритм выполнения работ стандартный. Еще раз напоминаем, что затягивать болты следует осторожно. Если обнаружились шатания, а подтягивать уже опасно, то нужно снять элемент фурнитуры и очистить поверхности стекла и пластиковой прокладки. На них могут быть масляные пятна, которые существенно ослабляют степень фиксации.
Видео — Монтаж системы раздвижных межкомнатных дверей из стекла Herkules Glass
Рекомендации профессионалов
Если дверь перед установкой будет длительное время храниться, то положите ее на подкладки, поверхность пола должна быть ровной. При выполнении монтажных работ желательно пользоваться специальными перчатками с резиновыми элементами. Такие перчатки предупреждают выскальзывание стекла во время работы с полотном.


Выполняйте работу в перчатках
Настоятельно рекомендуется во время производства монтажных работ привлекать помощника. Самостоятельная установка сопряжена с большими рисками.


В одиночку устанавливать двери могут только опытные профессионалы
В стандартной комплектации все петли правостороннее. Если вам необходимо изменить направление открывания дверей, то петли придется разобрать и поменять местами положение боковых плоскостей, к которым вкручиваются болтики фиксации стекла. Сделать это несложно. Если ваша дверь имеет стандартную коробку, то изменить направление открывания двери несколько труднее. Нужно снять горизонтальную поддерживающую рейку, подвинуть уплотнители к краю (будущего нижнего) другой горизонтали и закрепить вместо нее горизонтальную перекладину.
Некоторые производители реализуют стеклянные двери в частично собранном состоянии. Осторожно снимайте упаковку, проверяйте целостность конструкций и элементов. Перед началом работ подготовьте рабочее место, удалите все предметы, мешающие свободным движениям.


На фото мастер достает комплект фурнитуры
Горизонтальная ручка дверей непригодна к использованию, если расстояние между коробкой и стеной менее трех сантиметров. Небольшое расстояние препятствует открыванию двери на 90°.


Пример удобной дверной ручки
Чем чаще вы будете проверять пространственное положение несущих элементов, тем надежнее и долговечнее будет служить стеклянная дверь. Большинство производителей предусматривает возможность точной регулировки дверного полотна специальными болтами, установленными на фурнитуре.


Регулировка фурнитуры
Исключение – стекло вам изготавливали на заказ и не все размеры соблюдены с необходимой точностью. В таких случаях придется сдвигать петли в ту или иную сторону. Сделать это с первого раза довольно сложно. Если вы регулируете положение стеклянного полотна при ослабленных креплениях, то обязательно работайте вдвоем. Одному очень сложно и стекло придерживать, и болты откручивать/закручивать. Установка душевого поддона своими руками видео изучайте по ссылке.
Видео – Монтаж стеклянной двери











